Views: 0 Author: Site Editor Publish Time: 2026-04-03 Origin: Site
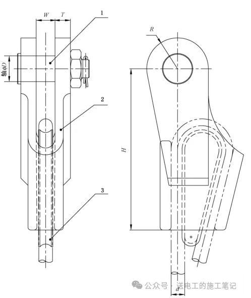
The steel wire rope end connection on a crane is not only applicable to cranes but also suitable for other lifting applications. The wedge-type connection looks like this:
1 — Pin shaft;
2 — Wedge sleeve;
3 — Wedge (Explanation: The length of the wedge is related to the position of the fixed wire rope clamp);
W — Internal width of the connection;
d — Rope diameter.
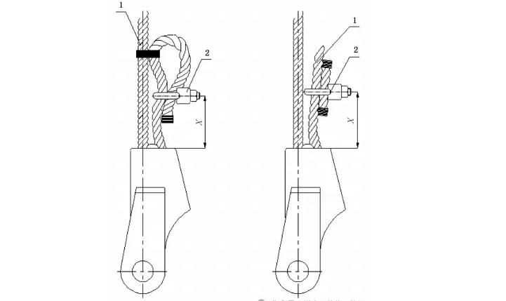
The steel wire rope should be fixed as follows:
Note:
1 — Soft steel wire (Explanation: Not a steel wire rope clamp).
2 — Steel wire rope clamp (Explanation: It cannot be made of soft steel wire).
X — The distance from the steel wire rope to the end of the wedge sleeve. To prevent X from being too large and the rope from loosening, causing the wedge to slip out of the sleeve, the principle is that X should not exceed 75% of the total length of the wedge (Explanation: It should be short, not long).
content is empty!
