Views: 0 Author: Site Editor Publish Time: 2026-01-16 Origin: Site
Steel wire ropes, made from steel wires, a core, and lubricants, are vital components used in material handling machinery for lifting, towing, tensioning, and load-bearing. The strength, light weight, smooth operation, and high reliability make steel wire ropes an ideal solution for many industries. The performance of wire ropes, especially when subjected to alternating loads, depends largely on the mechanical properties of the steel wires, the condition of their surface, and the rope's structure. Steel ropes are primarily made from carbon steel or alloy steel, processed through cold drawing or cold rolling, and the cross-section of the wire may be round or irregular. Irregular cross-section wires are mainly used to produce sealed wire ropes, which offer higher tensile strength and toughness.
In the process of using steel wire ropes, the end terminations are crucial for secure connection. The common steel wire rope end termination methods include wire rope clamps (or clips), splicing, wedge joints, and sleeves.

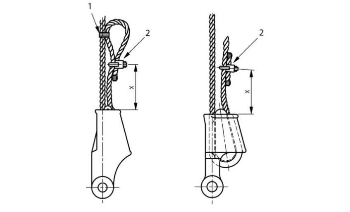
Wire rope clamps are widely used in construction sites, unloading platforms, cantilever scaffolds, and guy ropes. They are mainly used for temporary terminations. Common types of wire rope clamps include U-bolt, eye splice, and plate clamp. The U-bolt clamp is the most commonly used and provides the strongest connection. This clamp type is also recognized as the standard in GB 5976-2006 (China's standard for wire rope clips).
Clamp Type:
The U-bolt side clearance should be 0–2 mm larger than the wire rope's diameter. If the clearance is too large, it could cause slippage, leading to accidents.
Installation:
According to the standard, the clamp should be attached to the working section of the rope with the U-bolt on the tail end. The clamps should not be alternately arranged on the rope. The distance between each clamp (A) should be 6–7 times the rope diameter.
Clamping Quantity:
To ensure safety, an additional safety clamp is often added at the tail end of the rope to prevent slippage. When slippage occurs, the safety loop will straighten, prompting immediate action.

For wire ropes ≤18 mm, use 3 clamps.
For wire ropes 18–26 mm, use 4 clamps.
For wire ropes 26–36 mm, use 5 clamps.
For wire ropes 36–44 mm, use 6 clamps.
The last wire rope clamp should be at least 140 mm from the rope's end (as per JGJ 33-2012 Building Machinery Safety Regulations).

Wire rope clamps should never be used with shackles during lifting operations.
Splicing is suitable for wire ropes with a nominal tensile strength of up to 1960 MPa, commonly used in lifting slings and marine applications, where high-strength, permanent terminations are necessary.
Splicing Types:
Splicing involves reversing the end of a strand into the main rope body to create an eye or loop. The splicing can be manual or mechanical:
Manual Splicing: Each strand should be inserted at least five times, with at least three complete strand insertions.
Mechanical Splicing: Mechanical splicing typically involves 27 insertions (3 strands inserted 4–5 times).
Splicing Length:
The length of the splice (L1) should be no less than 15 times the rope diameter or meet the required insertion count, whichever is greater. After splicing, the exposed end of the strand should not exceed 0.3–1.0 times the rope diameter.

According to GB 6067.1-2010, the splicing length should not be less than 15 times the rope diameter and should be no less than 300 mm.
The connection strength should be no less than 75% of the wire rope's minimum breaking strength.
Wedge joints are widely used in high-load applications such as lifting systems and cranes, where secure, non-slipping connections are required.
Components:
Wedge joints consist of a wedge and a wedge sleeve, designed for mechanical self-locking. When the rope end passes over the wedge sleeve, the more the load is applied, the tighter the wedge locks into the sleeve. The connection relies on the pressure and friction exerted over the length of the rope.
Installation:
The wedge and sleeve should be made from high-strength materials: carbon steel for the sleeve and cast iron for the wedge. Ensure that the groove diameter in the sleeve is 0–2 mm larger than the wire rope diameter.

The wire rope should be aligned in the correct direction to prevent bending at the root of the sleeve, which could reduce the rope's fatigue life.

When sudden load release occurs, use a wire rope clamp at the free end of the rope to prevent it from slipping out of the wedge sleeve.

Sleeve terminations are widely used for lifting, securing, and trailing applications, particularly where permanent and high-strength connections are needed.

Compression Process:
The rope end is compressed into a metal sleeve, forming a secure, non-slip joint. This method is often used for ropes with a nominal tensile strength up to 1960 MPa.

Compression Specifications:
The sleeve length should be at least 15 times the rope diameter. After compression, the exposed rope should protrude 0.5–1 times the rope diameter from the sleeve.

The sleeve and crimping process should meet high-quality standards to prevent slippage or loosening during use.
Sleeves are ideal for high-frequency vibration scenarios, such as cranes, as they provide a secure connection without the risk of loosening.
Selecting the appropriate steel wire rope end termination method is critical for safety, reliability, and efficiency. Depending on the application, you can choose between wire rope clamps, splicing, wedge joints, or sleeve terminations. Each method offers distinct advantages and should be selected based on your specific requirements.
For reliable and durable steel wire rope terminations, ensure that you adhere to the appropriate industry standards like GB/T 8918-2006 and GB/T 30589-2014. Contact us today to learn more about our high-quality wire ropes and termination solutions.
content is empty!
